AS型撕裂式潛水排污泵是永嘉泉達泵閥制造有限公司采用德國ABS公司先進的技術,特別適用于輸送含有堅硬固體、纖維物的液體,以及特別臟、粘和滑的液體,。AS型撕裂式潛水排污泵主要部件由葉輪、泵體、底座、潛水電機組成。我公司生產的水泵軸和電機軸是同一根軸,由于撕裂式潛水排污泵位于整個排污泵最下端,它能最大限度抽吸地面積余污水。所有撕裂式潛水排污泵均裝有經調整好的撕裂機構,因此能將污水中長纖維、袋、帶、草、布條等撕裂后排出。因此,在污水中工作不會堵塞,運行極其可靠,產品執行JB/5118-2001《污水污物潛水電泵》標準。
AS撕裂潛水排污泵型號意義:

AS撕裂潛水排污泵技術參數:
流量:15-145m3/h;
揚程:4-25m;
轉速:1450-2900r/min;
口徑:φ76-φ152;
溫度范圍:-15-+40℃;
工作壓力:≤1.0Mpa。
AS撕裂潛水排污泵產品特點:
1、采用優秀的水力模型,使泵的排污能力強,無堵塞。
2、撕裂機構能夠把纖維狀物質撕裂、切斷,然后順利排放,無需在泵上加濾網。
3、結構緊湊,體積小,重量輕,移動方便,安裝簡單,可減少工程造價。
4、能夠在全揚程范圍內運行,而電機不會過載。
5、雙導軌自動安裝,檢修方便,人不必進出污水池。
6、配備全自動保護控制箱對產品的漏電、漏水以及過載等進行了有效保護,提高了產品的安全性和可靠性。
7、配備浮球開關可以根據所需的水位變化,自動控制泵的啟動與停止,無需專人看管。
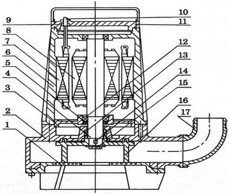
AS撕裂潛水排污泵結構圖:

|
1
|
底座
|
10
|
電纜
|
2
|
泵體
|
11
|
上蓋
|
3
|
軸承體
|
12
|
軸承
|
4
|
軸
|
13
|
機械密封
|
5
|
唇型密封
|
14
|
平鍵
|
6
|
電機殼
|
15
|
葉輪螺母
|
7
|
定子鉄芯
|
16
|
葉輪
|
8
|
轉子鐵芯
|
17
|
彎管
|
9
|
進線密封
|
|
|
AS撕裂潛水排污泵產品用途:
1、工廠、商業嚴重污染廢水的排放;
2、城市污水處理廠排水系統;
3、住宅區的污水排放;
4、人防系統排水;
5、醫院、賓館等的污水排放;
6、市政工程、建筑工地。
AS撕裂潛水排污泵性能參數:
型號
|
流量
|
揚程
|
電機功率
|
轉速
|
額定電壓
|
額定電流
|
配用膠管內徑
|
自耦裝置
|
重量
|
(m3/h)
|
(M)
|
(kw)
|
(r/min)
|
(V)
|
(A)
|
mm
|
AS10-2W/CB
|
15
|
4
|
1.1
|
2850
|
220
|
5.65
|
76
|
80GAK
|
30
|
AS10-2CB
|
15
|
4.5
|
1.1
|
2850
|
380
|
2.9
|
76
|
80GAK
|
30
|
AS16-2CB
|
29
|
7.6
|
1.5
|
2850
|
380
|
3.5
|
76
|
80GAK
|
33
|
AS30-2CB
|
42
|
11
|
3
|
2850
|
380
|
6.4
|
76
|
80GAK
|
40
|
AS55-2CB
|
45
|
13
|
5.5
|
2900
|
380
|
11.1
|
127
|
100GAK
|
165
|
AS55-4CB
|
100
|
7.5
|
5.5
|
1450
|
380
|
11.6
|
152
|
150GAK
|
180
|
AS75-2CB
|
60
|
18
|
7.5
|
2900
|
380
|
15.0
|
127
|
100GAK
|
185
|
AS75-4CB
|
145
|
10
|
7.5
|
1450
|
380
|
15.4
|
152
|
150GAK
|
200
|
AV14-4
|
22
|
5.8
|
1.5
|
1450
|
380
|
3.5
|
76
|
80GAK
|
33
|
AV55-2
|
30
|
20
|
5.5
|
2900
|
380
|
11.1
|
76
|
100GAK
|
165
|
AV75-2
|
30
|
25
|
7.5
|
2900
|
380
|
15.0
|
76
|
100GAK
|
200
|
AS撕裂潛水排污泵運輸注意事項:
1.決不允許用AS型撕裂式潛水排污泵的電纜起吊或懸掛水泵。在搬運或懸掛水泵時,可用帶鉤的鏈條鉤在把手上或上蓋的吊環上。
2.在移動使用時,出水軟管可用標準軟管接頭,接在水泵的出水彎管上。固定使用時,可以用一節軟管和接頭,把撕裂式潛水排污泵接在固定的管道上。
3.撕裂式潛水排污泵不能放在污水的出口處。當水泵座放在泥地上或浮沙土上,水泵由于震動,產生下陷。在這種情況下,建議將水泵懸置起來或放在一個較大的底板上。
4.如果撕裂式潛水排污泵仍在運轉或浸在水里,在0℃以下的氣溫時,可以繼續使用。 、
5.出水管內徑應符合規定的要求。對于輸送距離較長的,可適當減內徑,但易引起堵塞,降低輸送效率,不經濟。
6.在污水中使用的撕裂式潛水排污泵,在機殼周圍堆積了泥漿、雜物等。這樣降低了傳熱的速度,使泵的內部溫度上升,縮短定子的使用壽命,造成無緣無故的跳閘,所以在污水液位抽吸至最低之后,用軟管沖洗泵。
7.撕裂式潛水排污泵潛水電機使用油脂或潤滑油進行潤滑。由于密封磨損,油脂和潤滑油會漏出,和水泵所抽的液體混在一起。這時,請趕快將泵送至本廠修理部門或委托維修點,更換密封,以免將水泵電機燒壞。
8.未切斷電源時,不得移動撕裂式潛水排污泵。人不得在泵抽水時接觸泵四周的水源,以防止泵萬一漏電,又無地面漏電斷流器裝置時,造成觸電事故。
9.潛水電泵安裝以后,·不能長期浸在水申不用,建議每周至少運轉4小時以檢查其功能和適應性,或提起放在干燥處備用。
AS撕裂潛水排污泵使用注意事項:
在AS型撕裂式潛水排污泵啟動之前,應由一名合格的電工對該系統進行檢查。確保采取下述各項所要求的電器保護措施。
1.AS型撕裂式潛水排污泵在運轉前,應用O~500V兆歐表檢查電機定子繞組對地絕緣電阻,最低不得小于0.5兆歐。
2.電源電壓一定要在銘牌上標出的額定電壓±5%的范圍內,電源電壓升高值不允許超過額定電壓的10%。如果電源離水泵使用的地方距離較遠時,電纜的截面積應當加粗,接頭盡可能少些,否則會使電壓下降太多,且電纜接頭處,應作密封防水處理,以防從此處漏水進入。
3.四芯電纜中,帶有符號“”者為接地線(一般為綠黃雙色線),為了保證使用時安全,必須將接地線接牢,并比其他線長50mm~,
4.在有條件時,電器保護裝置可包括:接地保護器、地面漏電斷流器等。但是,在任何情況下,都必須裝有和水泵額定電流值相符的慢熔保險熔斷絲。
5.電器控制裝置應防潮,并安裝在防潮的區域。電纜的安放應注意不要使其堵在泵的吸入口處。
6.檢查轉子轉動方向。
使用三相電源水泵時,在泵初次啟動或每次重新安裝后都應檢查轉動方向,轉動方向不正確,會降低水泵的效率,并會損壞水泵,造成葉輪脫落。
為測定轉子轉動方向,水泵在最終安裝之前,應舉高并作簡單地啟動。符合下列情況,轉子(即電機)轉動方向是正確的。
口、從撕裂式潛水排污泵的頂部向下看時,泵在啟動瞬間轉動方向和轉子傳動方向相反。
口、從底部向上看撕裂式潛水排污泵的吸入口,葉片按逆時針方向旋轉。
如幾臺撕裂式潛水排污泵連到一個控制器上,各臺泵必須單獨進行檢查。
如果旋轉方向不正確,可以交換控制器上三相線中任意兩根線的位置,就能改變轉動方向。
AS撕裂潛水排污泵維修與保養:
AS型撕裂式潛水排污泵產品可靠,性能優良。每臺在出廠前,有最大的耐用性。然而,為了保證水泵的使用壽命。
1.底座蓋板的調整都認真地進行了最終檢驗。永久潤滑的滾珠軸承使水泵具建議進行定期的檢查和保養。在有磨損的介質中長期使用之后,葉輪和底座蓋板之間的間隙可能增大。拆掉電源,松開固定螺絲,旋轉蓋板,便可以將間隙調整到原來的狀態(0.3~0.5mm)。
2.清洗:
為防止撕裂式潛水排污泵在不用時,內部積有雜質,可用泵抽清潔的水來清洗水泵。水泵長期不用,應置于干燥處,并注意防凍。
3.注油與換油
AS型撕裂式潛水排污泵的油室在出廠包裝前,已注入適量的潤滑油。該油應每年進行更換。
換油應按下列方法進行:
把撕裂式潛水排污泵放置好,使得油室螺塞(位于出水口內側)朝下,擰松螺塞,放出潤滑油,然后用洗滌油清洗油室,再注入適量的油(約70~80%),換一個新的0型圈,將螺塞旋緊。
如果油中發現有水(奶狀乳化液),按規定沖洗油室并重新裝油,裝緊帶新的0形圈的螺塞。三個星期后必須重新檢查一次,如果油又變成乳狀液,機械密封件應進行檢查。必要時應更換(于我廠維修部接洽)。如果自己更換密封孔,須做氣密試驗。(空氣壓力0.5公斤/厘米2)
潤滑油:10[#]機械油
4.運轉故障
萬一運轉發生故障,不能確定原因,并且按后面提出的排除故障方法仍不能解決時,請不要采取臨時湊的
辦法,也不要私自亂拆亂修,而應與我廠維修部門聯系。
這一點尤其適用于由于控制部分中過流斷路而引起的反復跳閘現象。

感謝訪問泉達,我公司主要生產管道泵,自吸泵,排污泵等產品
相關產品:
ZW無堵塞自吸泵 不銹鋼潛水排污泵 PW型臥式污水泵 AS潛水排污泵 QJ型多級潛水泵 LW立式無堵塞排污泵
JYWQ型自動攪勻式潛水排污泵 GW管道排污泵 YW立式不堵塞液下排污泵